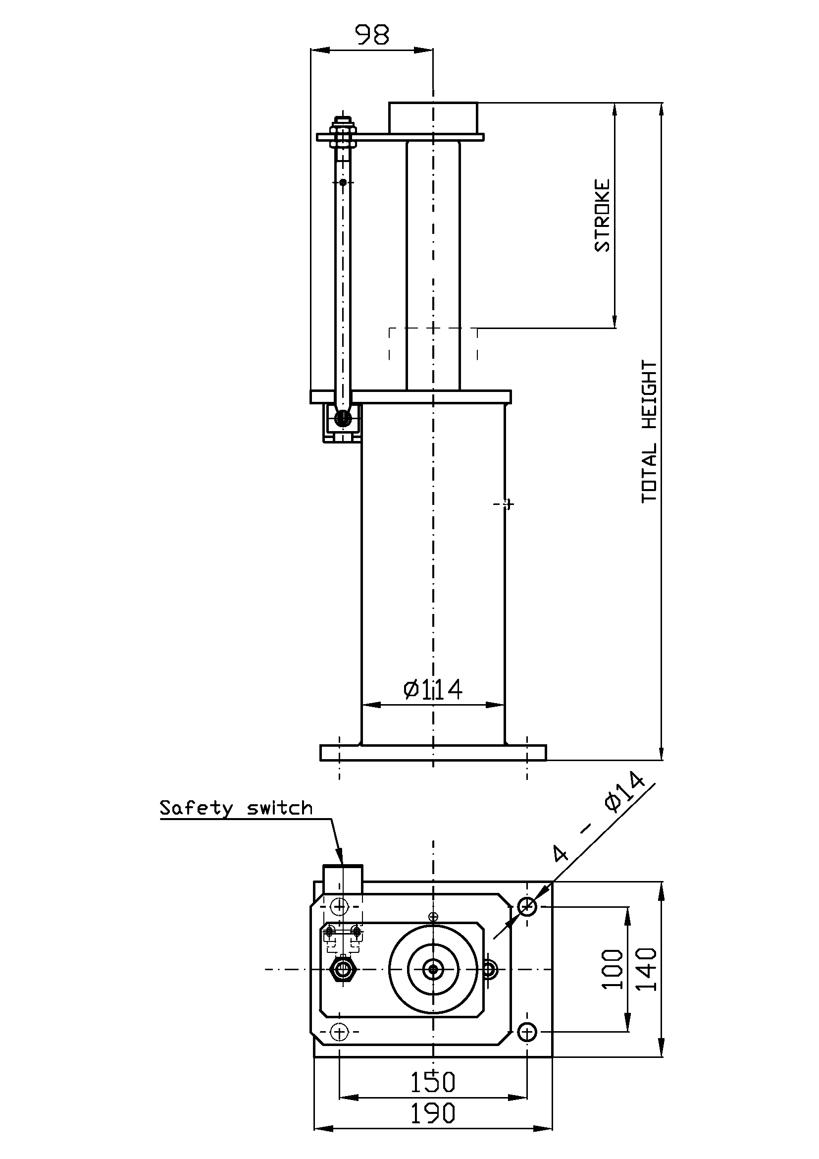
Lift buffer - oil and polyurethane
Safety and controlled standstill for your elevator car!
What are buffers?
Your task?
Safety components that are usually installed in the pit of an elevator shaft.
Bringing a moving elevator car to a controlled standstill.
(Impact after "driving over" the car, due to an electrical fault or an incorrect inspection maneuver, etc.)
Technische Infos Aufsetzpuffer








